Robot Working Envelopes

Different Robot configurations generate characteristic working envelope shapes. This working envelope is important when selecting a Robot for a particular application since it dictates:-


Care should be exercised when interpreting the working envelope of a Robot, for a number of reasons.

  1. the working envelope refers to the working volume which can be reached by some point at the end of the Robot arm, this point is usually the centre of the end effector mounting plate. It excludes any tools or workpiece which the end effector may hold.
  2. There are often areas within the working envelope which cannot be reached by the end of the Robot arm. Such areas are termed dead zones.
  3. The maximum quoted payload capacity can only be achieved at certain arm spans this may not necessarily be at maximum reach.

Standard Working Envelope Shapes

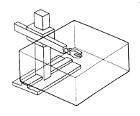
  1. Cartesian Configuration
    The working envelope of the Cartesian configuration is a rectangular prism. There are no dead zones within the working envelope and the Robot can manipulate its maximum payload throughout the working volume.








  2. Cylindrical Configuration
    The working envelope of this configuration is as its name suggests a cylinder. The cylinder is hollow, since there is a limit to how far the arm can retract, this creates a cylindrical dead zone around the Robot structure.











  3. Polar Configuration
    The working envelope of this configuration sweeps out a volume between two partial spheres. There are physical limits imposed by the design on the amount of angular movement in both the vertical and horizontal planes. These restrictions create conical dead zones both above and below the Robot structure.







  4. Revolute Configuration
    This configuration has a large working envelope relative to the floor space it occupies. The shape of the working envelope depends on the individual design. The two most common designs are shown below. The design in b) allows almost a true sphere to be reached, whilst the design in a) has a complex cusp shaped envelope.





  5. SCARA Configuration
    The SCARA configuration has a working envelope that can be loosely described as a heart or kidney shaped prism, having a circular hole passing through the middle. This allow a large area coverage in the horizontal plane but relatively little in the vertical plane.




  6. Spine Configuration
    The envelope of the spine Robot will approximate that of a true hemisphere the size being dependent on the number of articulations in the spine.








  7. Pendulum Configuration
    The working envelope of the pendulum configuration resembles that of a simple horseshoe having a segmented shaped cross section. The limited working envelope is offset by the fact that this Robot can be mounted in almost any position, allowing the envelope to be finely positioned in relation to its task.